免费咨询热线
香港作为全球知名的商业和金融中心,吸引了众多企业和投资者在此注册公司。然而,如何高效地查询香港公司的注册信息,成为了许多企业和个人关注的焦点。本文将详细介绍香港公司注册查询的官方网站及其使用方法,帮助读者轻松获取所需的公司注册信息。
香港公司注册查询的官方网站为香港公司注册处网上查册中心(https://www.icris.cr.gov.hk/csci/),该网站由香港特别行政区政府公司注册处维护,提供了全面的公司注册信息查询服务。通过该网站,用户可以查询到香港公司的基本信息、股东董事信息、注册地址、注册资本等关键数据,为商业决策提供参考。

香港公司的营业执照,正式名称为“公司注册证书”,是公司合法注册成立的证明文件。该证书由香港公司注册处颁发,上面会显示公司的编号、中英文名字以及成立时间等信息。香港公司注册证书上并不包含法人与注册资金等详细信息,这些信息需要通过其他途径进行查询。
在商业合作中,了解合作伙伴的真实性和合法性是至关重要的。通过查询香港公司的营业执照,可以确认公司的注册信息是否真实有效,从而避免与虚假公司或非法组织进行交易。
对于投资者而言,了解投资对象的真实情况至关重要。通过查询香港公司的营业执照及相关信息,投资者可以更加全面地了解公司的背景、实力以及潜在风险,从而做出更加明智的投资决策。
1. 登录查册中心
首先,用户需要登录香港公司注册处网上查册中心。在浏览器中输入网址后,点击“无账户使用者”进入查询页面。
2. 选择查册方式
香港公司注册查询提供了多种查册方式,包括全名查册、以名称起首查册等。用户可以根据自己的需求选择合适的查册方式。例如,如果知道公司的完整名称,可以选择全名查册;如果只知道公司名称的一部分,可以选择以名称起首查册。

3. 输入查册信息
在选择查册方式后,用户需要输入相应的查册信息。对于全名查册,需要输入公司的完整名称;对于以名称起首查册,则需要输入公司名称的起始部分。此外,用户还可以选择查询的语言(繁体中文或英文)。
4. 查看查询结果
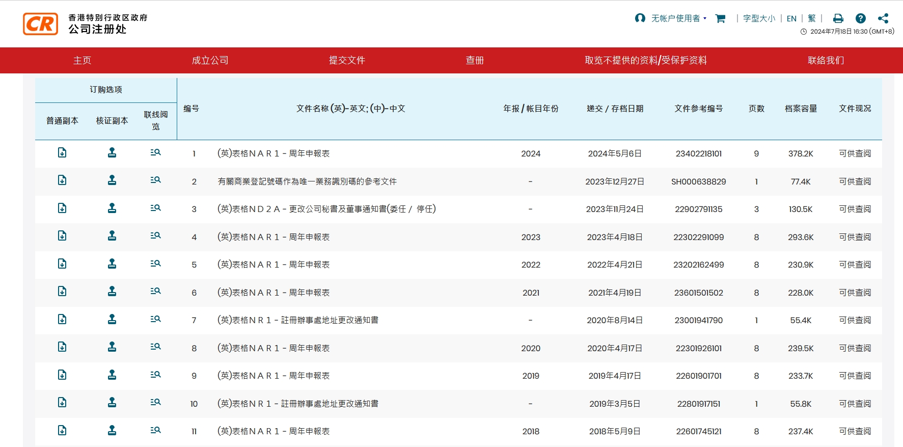
提交查册信息后,系统将显示查询结果。用户可以点击香港公司名称进行查看,系统将展示公司的基本信息,包括注册编号、公司类别、成立日期、公司状况等。此外,用户还可以点击“跳至”按钮,进一步查看公司的详细资料,如董事股东信息、注册地址等。

1. 查询费用
对于部分高级查询服务,如董事股东等重要信息查询,香港公司注册处会收取一定的查询费用。用户需要使用Visa或Mastercard银行卡进行支付。
2. 查询结果的准确性
由于香港公司注册处的信息更新具有一定的时效性,因此查询结果可能存在一定的滞后性。用户在查询时,应关注查询结果的日期,以确保信息的准确性。
3. 个人隐私保护
在查询香港公司注册信息时,用户应尊重个人隐私权。未经允许,不得将查询结果用于非法用途或泄露给他人。
1. 商业尽职调查
在进行商业合作或投资前,对企业进行尽职调查是至关重要的。通过查询香港公司的注册信息,可以了解企业的基本情况、股东结构、经营状况等,为商业决策提供有力支持。
2. 法律诉讼辅助
在法律诉讼过程中,查询香港公司成立信息可以帮助律师和法官了解企业的法律地位和运营情况,为案件的审理提供重要参考。
3. 市场研究与分析
对于市场研究人员和分析师来说,查询香港公司的注册信息可以了解行业动态、竞争格局等市场信息,为市场研究和分析提供数据支持。
香港公司注册查询官网是获取香港公司注册信息的重要途径。可以查询香港公司的基本信息,想要查询更多信息可能需要付费。